导出金蝶云星辰的销售单,如何操作?
服务热线:400-665-0027
新购有特价、金蝶老客户升级金蝶云产品可以享受5折优惠,送手机、送话费,好礼不断!
【操作流程】
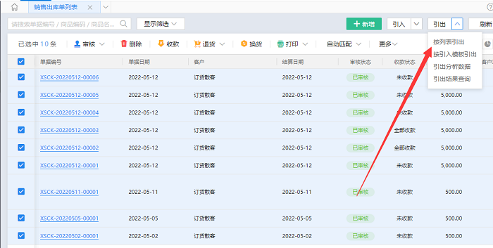
1、在鼠标悬停在销售出库单上,点击[查询],然后勾选单据,点右上角[引出],即可导出改单据的excel表格;
2、可选择【按列表引出】或【按引入模板引出】
3、也可在单据列表中先进行筛选后,再进行引出
【说明】
其他单据导出也是同种方法,如采购入库单。

